VSM-價值流

價值流管理推進步驟一:精益承諾
精益生產價值流管理推進過程中,管理層的承諾和參與對精益系統非常重要。沒有精益承諾,不可能發生改變。管理層提供了成功實施精益系統所必須的資源........
VSM-價值流5612017-04-14

價值流管理推進實施步驟
價值流管理推進實施步驟:1、精益承諾。2、選擇價值流。..........
VSM-價值流10282017-04-14

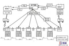
精益生產價值流程圖(VSM)
價值流圖(VSM)通過使用衡量和報告的方式將人和精益工具聯系到一起,來確保精益實施工作的識別和長時期開展。...
VSM-價值流14712017-04-14

價值流管理(上)—紙上談兵
價值流是指對某一產品經過的所有過程分析,這些過程包括:從原材料到產品的生產過程;從概念到投產的設計過程,這其中有許多增值和不增值的活動。價值流圖是用一支鉛筆將...
VSM-價值流10262017-03-21

價值流管理(中)—所向披靡
繪制未來價值流時,并不需要從零開始,你可以將已有的實踐經驗和方法,應用于你的價值流的未來狀態。本篇中,筆者將總結一些精益原則,可以應用在我們的未來狀態圖中,讓我...
VSM-價值流7022017-03-21

價值流管理(下)—眾望所歸
價值流圖只是一個工具,只有將價值流圖中總結出來的問題點進行改善,那才是價值流管理的真正意義所在,以實現眾望所歸。...
VSM-價值流4532017-03-21